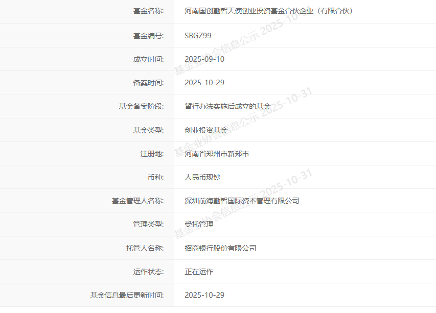
投资界(ID:pedaily2012)10月31日消息,近日,郑东新区政府投资基金——中原科技城产业引导基金旗下中原科技城科技创新产业投资基金(简称中原科创母基金)下设的河南国创勤智天使创业投资基金合伙企业(有限合伙)(简称国创勤智基金)正式完成中国证券投资基金业协会备案。

国创勤智基金作为天使基金,依托中原科创母基金管理人深圳市天使投资引导基金管理有限公司的朋友圈,以深圳前海勤智国际资本管理有限公司(简称勤智资本)为管理机构,由隶属工信部批准的国家高性能医疗器械创新中心体系的深圳国创致远私募股权基金管理有限公司担任投资顾问,联合外地国资共同设立,主要围绕医疗器械、合成生物等医疗大健康领域进行早期投资布局。
国创勤智基金此次完成备案,进一步夯实了中原科技城产业引导基金“1支政府引导基金+1支市场化政策性科技创新母基金+1支种子基金母基金+N支市场化子基金”的全生命周期基金矩阵。后续中原科技城产业引导基金将持续深化基金合作,发挥基金矩阵协同效能,打造接力投资格局,助力郑东新区产业高质量发展。
来源:郑州中原科技城产业引导基金
点击获取更多LP资讯
https://www.pedaily.cn/s104/
本文来源投资界,原文:https://news.pedaily.cn/202510/556683.shtml


140810/31








